智能眼鏡和頭顯的特定電子元件可以產生射頻輻射。所以有必要管制用戶可能接觸的射頻輻射量,以限制對用戶的任何潛在不利影響。
在名為“Systems and methods for wireless communications in head-mounted devices”的專利申請中,微軟就介紹了一種相關的方法。

在圖1中,電子設備100包括允許無線通信的通信設備。通信設備通過天線元件110發送或接收RF射頻信號。天線元件根據一個或多個通信標準在電磁頻譜中傳輸無線通信。不同的國家或司法管轄區根據電子設備用戶所經歷的射頻輻射量來限制射頻天線的發射功率100。例如,用戶對射頻輻射的特定吸收比SAR取決于頻率、功率和傳輸天線與用戶身體的接近程度。
微軟指出,電子設備00的主體102中的天線元件100可以在SAR限制內安全地具有100毫瓦(mW),150mw,200mw或更高的發射功率。
在一個實施例中,至少一個天線元件110位于主體102中。更具體地說,天線元件110可以位于主體102的側邊112和/或主體102的下緣114。例如,主體102的下邊緣114可使天線元件110不與用戶身體接觸并與用戶身體間隔1-2厘米。
主體102的上緣123可以比側邊112和/或下緣114接觸或更靠近所述用戶的前額。相對于定位在下邊緣114中的天線元件110的相同發射功率、頻率和持續時間,若將天線元件110定位在主題102的上邊緣123,則將導致更大的射頻輻射暴露。
微軟指出,通過將天線元件110定位在主體102的下邊緣114,可以可將SAR降低高達25%。

圖3是一個頭顯透視圖。電子設備300包括多個天線元件310-1、310-2、310-3。例如,天線元件310-1、310-2、310-3中的每一個可以與不同的通信設備進行電氣通信。在其他示例中,多個天線元件310-1、310-2、310-3中的至少兩個天線元件310-1、310-2、310-3與單個通信設備進行電氣通信。
第一天線元件310-1位于遠離太陽穴端304的遠端322。所述第一天線元件310-1的位置允許所述第一天線元件310-1以相對較少的干擾接收來自位于所述電子設備300中的其他電子元件的傳入RF傳輸。
然而,第一天線元件310-1的位置可能導致來自第一天線元件310-1的出射RF傳輸,使用戶頭部暴露于更大的RF輻射,并且導致來自用戶頭部的信號衰減比位于電子設備300上其他位置的另一天線元件更多。
第二天線元件310-2可位于所述太陽穴端304上/中,第三天線元件310-3可位于所述主體302上/中。例如,第一天線元件310-1可位于天線孔304,第二天線元件310-2可位于另一個天線孔304。在另一示例中,第一天線元件310-1可位于太陽穴端304的近端部分(更靠近主體302),第二天線元件310-2可位于太陽穴端304的遠端部分(遠離主體302)。
天線304的天線元件可以是分集天線,主要用于接收RF傳輸,而位于主體302內/上的第三天線元件310-3可以是用于傳輸的主天線,允許電子設備300以更高的發射功率進行傳輸。
圖4是相對于圖3所描述的每個天線元件310 – 1,310 – 2,310 – 3的頻率示例分布圖。
在一個實施例中,天線元件相同,并且可以以相同的頻率接收或發射。在另一個實施例中,天線元件中的至少一個不同于另一個,并且可以以不同的頻率接收或發射。
例如,圖4的第一天線元件310-1是分集天線,其在600 MHz至3.7 GHz之間的蜂窩范圍內以及在大約1.6 GHz的全球定位系統范圍內工作。圖4的第二天線元件310-2是在大約2.4 GHz和5.0 GHz以上的Wi-Fi范圍內工作的分集天線。圖4的第三天線元件310-3是在蜂窩和Wi-Fi范圍內工作的主天線。
電子設備主體中的天線元件可以放置在不同的位置和/或具有不同的配置。例如,圖5示出第一天線元件410-1位于主體402的第一側(接近第一透鏡406-1),第二天線元件410-2位于主體402的第二一側(接近第二透鏡406-2)。

在一個實施例中,第一天線元件410-1為環狀天線,第二天線元件410-2為單極天線。第一天線元件410-1和第二天線元件410-2是相同類型的天線元件,例如兩者都是環形天線或兩者都是單極天線。在另一個實施例中,電子設備400在主體402上/中僅具有一個天線元件,并且電子設備400在主體402上/中具有兩個以上的天線元件。
環路天線是可用于發射和/或接收射頻傳輸的射頻天線。環形天線由導線或金屬帶等導電材料組成。用于環路天線的可用頻率的頻譜至少部分地基于環路的周長。
單極天線這種射頻天線可用于發射和/或接收射頻傳輸。單極天線由導體組成,通常安裝在導電表面上。在單極子和地平面之間應用來自發射器的驅動信號,或者對于接收天線,將輸出信號用于接收器。
在一個實施例中,電子設備400的天線元件410-1、410-2的有效天線長度428至少部分基于電子設備400所使用的期望頻率。有效天線長度428至少為環形天線的最小波長的1 / 2。例如,用于發送或接收5.0 GHz Wi-Fi信號的天線,其有效天線長度可能至少為30mm。在另一示例中,用于發射或接收1000mhz低頻段蜂窩信號的天線可具有至少15cm的有效天線長度。
在一個實施例中,有效天線長度428至少為單極天線最小波長的¼。例如,用于發送或接收5.0 GHz Wi-Fi信號的天線,其有效天線長度可能至少為15mm。在另一示例中,用于發射或接收1000 MHz低頻段蜂窩信號的天線可具有至少7.5 cm的有效天線長度。

圖6和圖7顯示了圖6中的環形天線和圖7中的單極天線的測量天線效率。
圖6的曲線圖顯示了在較低頻率處相對較大的衰減。盡管環路天線在較低頻率,特別是在1.0 GHz以下的低頻段范圍內效率較低,但環路天線在整個中頻段,高頻段和超高頻段都表現出足夠的性能。圖7則示出單極天線效率圖。

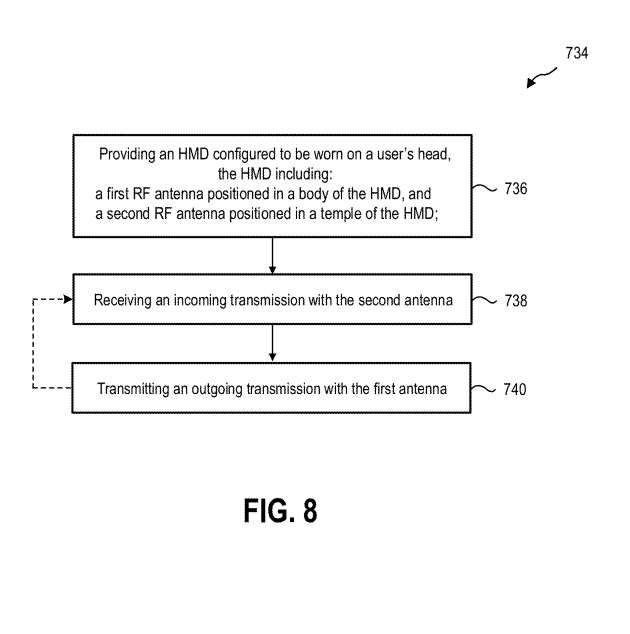
圖8示出無線通信方法734的實施例的流程圖。
在736,將頭顯定位在用戶頭上。如本文所述,主體中的第一RF天線可以位于所述主體的下邊緣,或位于所述主體的外側。
在738,用第二天線接收傳入傳輸。在使用第二天線接收輸入傳輸后,方法734包括在740使用第一天線發送輸出傳輸以響應輸入傳輸。
微軟指出,發明所述的方法允許頭顯以比傳統頭顯更大的發射功率和/或更低的SAR為用戶傳輸RF信號。在至少一個示例中,在相同的吸收水平下,前框架天線可以比太陽系端天線傳輸至少4倍以上的功率。
名為“Systems and methods for wireless communications in head-mounted devices”的微軟專利申請最初在2022年5月提交,并在日前由美國專利商標局公布。
需要注意的是,一般來說,美國專利申請接收審查后,自申請日或優先權日起18個月自動公布或根據申請人要求在申請日起18個月內進行公開。注意,專利申請公開不代表專利獲批。在專利申請后,美國專利商標局需要進行實際審查,時間可能在1年至3年不等。


產品與服務
聯系站長
關于我們