頭顯一般包括兩個分別位于左眼和右眼前面的顯示器,而它們之間的不對準可能會以非期望的方式影響顯示圖像的呈現。
盡管初始校準可以在工廠校準期間和/或通過最終用戶執行的校準程序進行設置,但由于外部應變,校準可能會受到損害,例如頭顯因硬物撞擊而導致組件錯位。
所以在名為“Alignment assessment for head-mounted display system”的專利申請中,微軟介紹了一種用于評估頭顯一個或多個組件的對齊的方法。
在一個實施例中,專利描述的頭顯可以包括一個或多個應變片,每個應變片都有一個或多個可變應變參數。系統可以檢測到一個或多個應變片的應變參數的變化,并由邏輯機用于評估頭顯的校準。
邏輯機可以根據評估的顯示組件和/或攝像頭的對齊來改變顯示圖像的一個或多個方面。例如,在確定應變導致顯示器組件相對于攝像頭錯位時,可以相應地改變顯示圖像的方向。

圖3A和3B圖解頭戴式顯示系統的組件不對齊場景。具體而言,圖3A示出位于用戶眼睛202L和202R前方的近眼顯示器200L和200R。然而,右側近眼顯示器200R相對于左側近眼顯示器200L和相對于攝像頭205不對齊。
具體來說,右近眼顯示器偏移了大約10度。所以在圖3B中,右側近眼顯示器200R的對準與根據攝像頭捕獲圖像估計的頭戴顯示器姿態不一致,顯示圖像204R與顯示圖像204L不對齊。這樣,兩個顯示圖像不解析為單個三維對象206,而是視為兩個不同的偏移圖像。往好了說,這可能會分散注意力,往壞了說,可能會給用戶帶來不適和惡心感。

圖4示出了示例頭戴式顯示系統400。頭戴式顯示系統400包括左顯示組件402L,其包括左光源404L。類似地,頭顯 400包括右顯示組件402R,而右顯示組件402R又包括右光源404R。
顯示組件提供用于形成顯示圖像的空間調制顯示光的操作可由邏輯機器控制,如圖4所示的邏輯機器406。例如,邏輯機可以控制與每個顯示組件相關聯的光源。邏輯機同時可以或可選地檢測頭戴式顯示系統的各種組件之間的不對齊。
頭戴式顯示系統400的各種結構可用于評估頭戴式顯示器組件的對齊。一般來說,頭顯可以包括一個或多個應變片,每個應變片至少部分基于施加在頭顯的應變量,并具有一個或多個可變應變參數。發明描述的一個或多個應變片采用蝕刻到光學元件中的一個或多個布拉格光柵形式。
作為另一個例子,應變片可以包括箔應變片。例如當應變導致箔圖案變形時,可以檢測到的電阻變化。

圖5所示的方法500說明了用于頭顯校準評估方法500,其中一個或多個應變片包括在光學元件形成的布拉格光柵。
在502,方法500包括將測試光從測試光源發射到配置成通過全內反射傳播測試光的光學元件中。光學元件包括一個或多個布拉格光柵,每個光柵具有可變的光返回參數,而所述參數至少基于施加到光學元件的應變量。

在圖6中,光源404L配置為發射用于形成顯示圖像的顯示光602D和用于評估頭顯 400組件對齊的測試光602T。為此,光源包括用于釋放顯示光602D的第一發射器601D和用于釋放測試光602T的第二發射器601T。
每個光發射器與光源的不同發光組件相關聯。在這種情況下,測試光的特性可能以任何合適的方式與顯示光不同。例如,雖然顯示光通常可以空間調制以形成顯示圖像,但測試光可以包括波長的寬帶光譜。例如,測試光可以是基本上包括整個可見光光譜的白光。
簡單地回到圖5,在504,方法500包括在測試光傳感器處檢測光學元件中的測試光。檢測光學元件中的測試光可包括檢測在測試光傳感器處的測試光的波長。

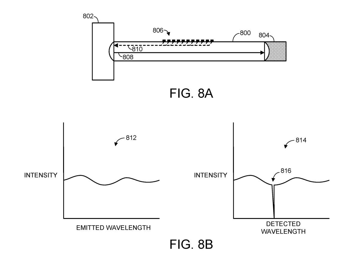
圖8A示出的光學元件800可以采取波導的形式。光學元件800耦合到配置為向光學元件發射測試光的測試光源802,以及配置為檢測來自光學元件的測試光的測試光傳感器804。另外,在測試光源和測試光傳感器之間的光學元件形成布拉格光柵806,光柵806表示為設置在光學元件側面的多個單獨光柵元件。
在圖8A中,測試光源發射測試光808,該測試光808通過光學元件向測試光傳感器804傳播。相對于測試光,布拉格光柵返回的測試光的部分可以代表一個相對較窄的波長范圍,例如可以返回幾個納米的波長范圍,而測試光的其他波長繼續在光學元件中傳播。由布拉格光柵返回的部分測試光可以被測試光傳感器檢測到,如圖8B所示。
具體地說,圖8B包括表示由測試光源802發射的波長光譜的相對強度的第一圖812。這可能包括“白光”。圖8B同時包括第二圖814,其表示由測試光傳感器804檢測到的測試光的各種波長的相對強度。
如圖所示,圖814包括一個波長谷816,表示布拉格光柵806返回的波長范圍相對較小。由于測試光傳感器位于測試光路的源端遠端,因此布拉格光柵返回的波長無法到達測試光傳感器,所以在檢測波長的光譜中產生波長谷816。
簡單地回到圖5,在506,方法500包括評估頭戴式顯示系統的顯示組件和頭戴式顯示系統的攝像頭的一個或兩個的對準,至少部分地基于由測試光傳感器檢測到的測試光。如上所述,可以將邏輯機配置為至少部分地基于由測試光傳感器檢測到的測試光的波長來評估顯示組件和攝像頭的一個或兩個的對準。

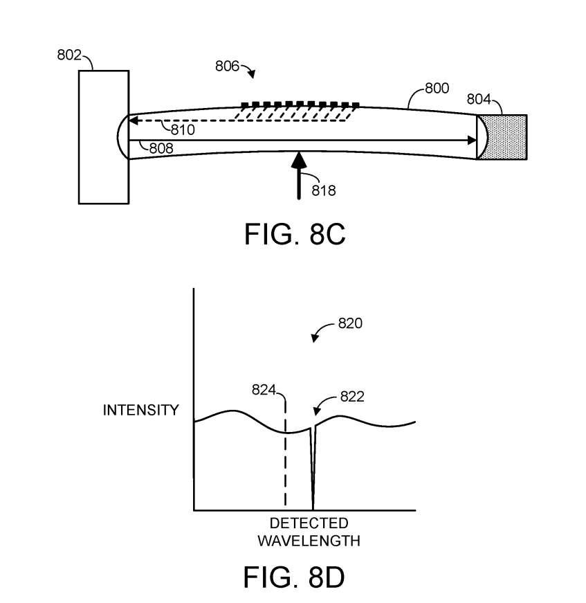
例如,圖8C再次顯示了圖8A的光學元件800。在這個例子中,應變818施加到光學元件。應變可能是由直接施加在光學元件上的外力引起。
在任何情況下,施加在光學元件上的應變都會影響布拉格光柵806各光柵元件的元件間距。這影響由布拉格光柵返回的測試光的波長。換句話說,布拉格光柵的可變光返回參數導致對施加于布拉格光柵的第一應變量的測試光的第一波長的應變相關返回,以及對施加于光學元件的第二應變量的測試光的第二波長的應變相關返回。
這可以通過測試光傳感器檢測到,如圖8D所示。具體地說,圖8D的圖820顯示了用于圖8C所示場景的由測試光傳感器804檢測的測試光的波長的相對強度。如上所述,測試光傳感器804位于所述測試光的光路的源遠端,因此所述返回的波長由所述檢測波長光譜中的波長谷822表示。
標記824表示圖8A所示場景中檢測到的波長谷816的位置,例如,圖8A所示應變條件下波長谷的預期位置。換句話說,對光學元件施加應變使檢測到的波長谷從標記824移動到如圖8D所示的波長谷822。
通過這種方式,邏輯機器可以通過比較布拉格光柵在給定時刻返回的光的波長與已知布拉格光柵在已知應變狀態返回的光的波長來檢測何時對光學元件施加了應變。
換句話說,當測試光傳感器位于測試光的光路的源遠端時,邏輯機可以檢測相對于測試光源發射的已知波長光譜的波長谷,其中波長谷是由布拉格光柵的部分測試光的應變相關返回引起。例如,邏輯機可以將檢測到波長谷822的波長與檢測到波長谷816的波長進行比較。
這可以用來評估頭顯的不同部分的對齊。例如,先前的測試可以用來確定不同的布拉格光柵在不同的應變條件下返回的測試光的波長。
作為一個例子,這可以包括檢查返回光的波長如何隨著頭顯的框架以一種影響顯示組件對齊的已知量的方式彎曲而變化。因此在運行時,邏輯機可以通過檢測測試光返回波長的變化是否與測試期間返回的波長一致來評估顯示組件的對齊。
例如,先前的測試可能表明,當顯示器組件相對于頭顯的其余部分在已知方向上彎曲約5度時,返回與波長谷822對應的波長。因此在運行時,當在谷822的位置檢測到波長谷時,邏輯機可以將顯示組件的對準評估為偏差5度。在不同波長檢測到的波長谷可能與先前測試的不同條件一致,例如攝像頭的不對準。
需要理解的是,這種測試實際上可以檢測到應用于頭顯的任何應變條件,特別是當在頭顯的一個或多個不同光學元件上形成多個布拉格光柵時。在測試過程中,不同布拉格光柵返回的測試光的波長可以存儲在一個查找表中,以供頭顯在運行時查詢。
通過這種方式,邏輯機可以在運行時通過查詢查找表來檢測頭顯的各種不對齊。換句話說,在檢測到與特定布拉格光柵對應的被檢測測試光的特定波長后,頭顯可以參考查找表,將檢測到的波長與布拉格光柵返回的已知波長進行比較,以獲得頭顯的已知應變狀態。
名為“Microsoft Patent | Alignment assessment for head-mounted display system”的微軟專利申請最初在2022年5月提交,并在日前由美國專利商標局公布。


產品與服務
聯系站長
關于我們