很難設計一個在頭顯顯示系統的整個視場范圍內或所需波長提供可接受校正的衍射光學元件。所以在名為“Polarization-multiplexed optics for head-mounted display systems”的專利中,Valve提出了一種用于頭顯的偏振多路復用光學元件。
通過結合眼動追蹤,所述光學元件可以根據整體視場的視場部分對來自光源的光進行偏振,或者通過根據顏色對來自光源的光進行偏振,第一和第二偏振敏感衍射光學元件中的每一個都可以針對較小的視場進行優化或者第一和第二偏振敏感衍射光學元件和中的每一個都可以優化為更窄的波長范圍,從而允許更大的設計自由度并最終通過整體光學組合器902進行更好的校正。

圖5是一個顯示系統500的原理框圖。顯示系統500包括光學耦合到光瞳繼電器系統504的顯示光源502。光瞳中繼系統504定位為將來自所述顯示光源502的第一光瞳中繼到位于用戶的眼睛506的第二光瞳。
光瞳中繼系統504包括偏振敏感光學器件508。偏振敏感光學器件508可以對通過它的光的偏振非常敏感。換句話說,不同的偏振將顯著改變強度和雜散光。
為了優化提供給偏振敏感光學器件508的光的偏振,所述顯示系統500的光瞳繼電器系統504同時包括具有隨位置在空間上變化的偏振的空間變化偏振器510,其作用是補償偏振的變化以提供均勻的偏振光。
例如,偏振敏感光學器件508可以配置為補償一個或多個反射鏡或其他光學器件從復合角度產生的任何偏振。可以選擇性地實時調整空間變化的偏振片510,以在基于用戶注視位置的區域或視場中提供優化的性能。
空間變化偏振器510可包括由雙折射材料形成的阻波器。雙折射是一種材料的特性,它的折射率取決于光的偏振和傳播方向。緩波器改變通過該緩波器的光的偏振態或相位。緩波器可以有慢軸和快軸。當偏振光穿過波緩速器時,光沿著快軸比沿著慢軸傳播得快。
如上所述,空間變化的偏振器510可以提供相位延遲,它改變位置的函數以允許從顯示光源502到偏振敏感光學器件508的光更均勻和有效地分布。空間變化偏振器510的延遲變化的特定方式可以取決于顯示系統500的光學系統的特定配置和材料,例如入射光的偏振狀態、入射角、材料、各種組件的幾何形狀等。
作為示例,空間變化偏振器510可以在第一位置不提供延遲,并且可以線性增加延遲以在空間變化偏振器的第二位置提供λ/4的延遲。通常,空間變化的偏振片510可以提供作為位置函數以任何方式變化的延遲,并且延遲的量可以是任何值,例如λ/20、λ/10、λ/4、λ、2λ。
在至少一個實施例中,空間變化的偏振器510可以由MTR形成。MTR包括單個襯底之上的兩個或多個扭曲液晶LC層。隨后的LC層由前一層直接對齊,這允許簡單的制造,實現自動層配準,并產生具有連續變化光軸的單片薄膜。

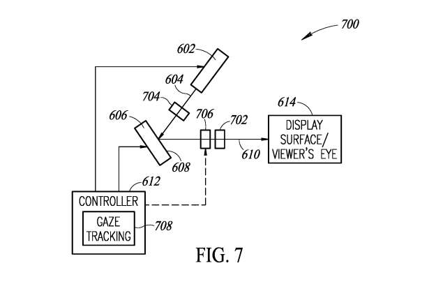
圖7是掃描波束顯示系統或投影儀700的示意圖。掃描后光學器件702可包括基于波導的光學系統和Pancake光學系統等。掃描后光學元件可以包括一個以上的元件。掃描后光學器件702的效率可能對通過其的光的偏振非常敏感。
顯示系統700同時包括以空間變化偏振器706形式的偏振補償光學器件。偏振補償光學器件位于掃描鏡608和掃描后光學器件702之間,以便為掃描后光學器件702提供偏振補償。
在至少一個實施例中,控制器612可操作地耦合到空間變化的偏振器706,以選擇性地將空間變化的偏振器的空間相關相位延遲改變為任何所需的配置。
在這樣的實施中,可以提供一個或多個薄膜晶體管層,從而允許由控制器612選擇性地控制空間變化極化器706的空間相關相位延遲。控制器612可以以任何期望的速率控制相位延遲,例如僅一次,周期性地,以等于顯示系統700的幀速率或其部分的速率等。
在至少一個實施例中,控制器612可用于接收眼動追蹤信息708,以用于選擇性地調整空間變化偏振器706的空間依賴相位延遲,從而在用戶當前注視的優化區域中進行優化。
在相對較小的區域或視場優化空間變化的偏振片706是有利的,可提供明顯優于在整個視場優化的性能。使用眼動追蹤信息,系統可以優化一個區域的各種特征(例如強度),同時配置特定區域以外的區域具有較低的性能,例如強度較低,雜散光較多。由于用戶的視覺在周邊區域不太敏銳,用戶甚至可能不會察覺到。這可以降低整體系統性能。

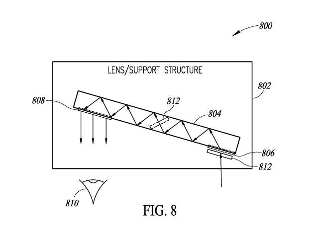
在圖8,顯示系統800包括基于波導的光學系統和空間變化偏振器形式的偏振補償光學系統。
空間變化的偏振器812位于與耦入器806相鄰的位置,以便為進入波導804的光提供偏振補償。例如,空間變化的偏振器812可以位于波導804上、鄰近或內部。
在至少一個實施例中,例如,空間變化的偏振片812位于耦入器806或耦出器808的相鄰兩側。在其他實施例中,空間變化的偏振器812位于顯示光源和用戶眼睛之間的光路中的其他位置,以提供偏振補償。

圖9的增強現實系統的顯示系統900可以利用極化多路復用來提供在波長上進行優化的波導結構。
為了使光能夠耦合到光組合器902中,所述顯示系統900包括物理耦合到光組合器902的第一部分的耦入器806,以及物理耦合到與第一部分相對的光學組合器的第二部分的耦出器808。
在所示的實施例中,光學引擎908包括位于光源910前面的選擇性偏振器光學元件912。選擇性偏光鏡光學元件912可以由液晶材料形成。選擇性偏振器光學912接收包括多種波長或顏色C1、C2、C3(例如,紅、綠、藍)的光916。
所述選擇性偏振器光學912可用于接收來自所述顯示光源910的光916,并可用于輸出處于第一偏振狀態(P1)的第一顏色(1)光918和處于第二偏振狀態P2的至少第二顏色(C2或C3)光,其中所述第二偏振狀態與所述第一偏振狀態正交。
所述光組合器902包括第一偏振敏感衍射光學元件 904和第二偏振敏感衍射光學元件906。第一和第二偏振敏感的衍射光學元件中的每一個都可以由液晶材料形成。
第一偏振敏感衍射光學元件904包括衍射第一偏振態(P1)光,并且不衍射地通過第二偏振態(P2)的光的第一衍射圖案。類似地,第二偏振敏感衍射光學元件906包括衍射第二偏振態(P2)的光,并且不衍射地通過第一偏振態(P1)的光的第二衍射圖案。第一衍射圖案設計用于為第一顏色(C1)提供優化的校正,第二衍射圖案設計用于為至少第二顏色(C2和或C3)提供優化的校正。
如上所述,很難設計出在所有所需波長提供可接受校正的衍射光學元件。通過根據顏色對來自光源910的光進行偏振,第一和第二偏振敏感衍射光學元件904和906中的每一個都可以優化為更窄的波長范圍,從而允許更大的設計自由度并最終通過整體光學組合器902進行更好的校正。
繼續上述示例,第一偏振敏感衍射光學元件904可以僅針對第一偏振狀態(P1)中的紅光(C1)進行優化,因為第一偏振敏感衍射光學元件將看不到第二偏振狀態(P2)中的綠光或藍光。同樣,第二偏振敏感衍射光學元件906可以只針對第二偏振狀態(P2)下的綠光(C2)和藍光(C3)進行優化,因為第二偏振敏感衍射光學元件將看不到處于第一偏振狀態(P1)的紅光(C1)。

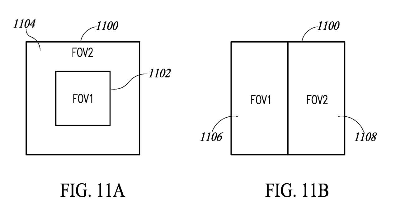
圖11A示出頭顯系統的示例總視場1100,包括具有窄角度范圍的第一視場部分1102,第一視場部分被第二視場部分1104包圍。
所述光組合器1002包括第一偏振敏感衍射光學元件1004和第二偏振敏感衍射光學元件1006。第一和第二偏振敏感衍射光學元件中的每一個都可以由液晶材料形成。
第一偏振敏感衍射光學元件1004包括衍射第一偏振態(P1)光,并且不衍射地通過第二偏振態(P2)的光的第一衍射圖案。類似地,第二偏振敏感衍射光學元件1009包括衍射第二偏振態(P2)的光,并且不衍射地通過第一偏振態(P1)的光的第二衍射圖案。第一衍射圖設計用于為第一視場部分提供優化校正,第二衍射圖設計用于為第二視場部分提供優化校正。
如上所述,很難設計一個在顯示系統的整個視場范圍內提供可接受校正的衍射光學元件。通過根據整體視場的視場部分對來自光源1010的光進行偏振,第一和第二偏振敏感衍射光學元件1004和1006中的每一個都可以針對較小的視場進行優化,從而允許更多的設計自由度并最終通過整體光學組合器1002進行更好的校正。
V社指出,通過利用上文討論的空間變化偏振器,光學設計人員將具有顯著的更多自由度來生產具有改進的性能和效率的光學系統。
名為“Polarization-multiplexed optics for head-mounted display systems”的V社專利申請最初在2023年7月提交,并在日前由美國專利商標局公布。
需要注意的是,一般來說,美國專利申請接收審查后,自申請日或優先權日起18個月自動公布或根據申請人要求在申請日起18個月內進行公開。注意,專利申請公開不代表專利獲批。在專利申請后,美國專利商標局需要進行實際審查,時間可能在1年至3年不等。


產品與服務
聯系站長
關于我們