眼動追蹤是一種用于檢測眼睛位置、方向或運動的過程。侵入性最小的方法可以使用一個或多個光學探測器或傳感器來光學追蹤眼睛,例如使用紅外光照亮整個眼睛,同時用至少一個對紅外光敏感的光學傳感器測量反射。分析紅外光如何從眼睛反射的信息,以確定一個或多個眼睛特征的位置、方向和/或運動。
在名為“Optical tracking including imaging-based angle sensitive detectors”的專利申請中,V社就介紹了一種采用基于成像的角度敏感檢測器的光學眼動追蹤方法。

圖4的頭顯設備405包括用于確定用戶注視方向的硬件傳感器和附加組件,例如眼動追蹤子系統的一個或多個眼動追蹤組件472。所述組件可以安裝在顯示面板406和408附近和/或位于光學透鏡系統410和412附近的內表面421,并用于獲取有關用戶瞳孔494的實際位置信息。
每個眼動追蹤組件472可包括一個或多個光探測器和任選的一個或多個光源,例如,紅外LED。盡管圖4中顯示了四個眼動追蹤組件472,但在實踐中可以提供不同數量的眼動追蹤組件。另外,每個眼動追蹤組件472包括指向用戶424眼睛432和434之一的光源,以及定位為接收由用戶的各自眼睛反射的光的光檢測器。

圖5示出了使用多個眼動追蹤組件的示例。每個眼動追蹤組件都包括光源和光檢測器,并用于確定用戶的凝視位置。在所示實施例中,眼動追蹤子系統的四個眼動追蹤組件511a-511d,統稱為511,安裝在光學透鏡508的邊緣附近,并且每一個指向眼睛504的瞳孔506,以用于向眼睛504發射光并捕獲從瞳孔506周圍虹膜502反射的光。
在本實施例中,眼動追蹤組件511放置在以下位置:沿中央垂直軸靠近光學透鏡508的頂部,沿中央垂直軸靠近光學透鏡的底部,沿中央水平軸靠近光學透鏡的左側,以及沿中央水平軸靠近顯示面板的右側。在其他實施例中,眼動追蹤組件511可以定位在其他位置,并且可以使用更少或更多的眼動追蹤組件。
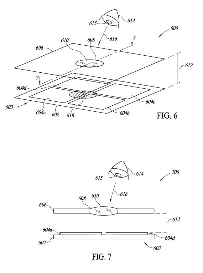
圖6描述了示例性角度敏感光學探測器603的透視圖600。圖7為圖6所示的角度敏感光學探測器603的截面圖700,圖8為角度敏感光學探測器的俯視圖800。

在本例中,光學探測器603包括設置在公共襯底602的象限光電探測器604。象限光電探測器604包括四個由小間隙分隔的有緣區域604a-604d。應該認識到,可以使用其他類型的角度敏感探測器。
角度敏感探測器603包括位于光電探測器604上方或前方的不透明屏606。所述不透明屏606可以耦合到所述襯底602或與所述襯底602集成。所述不透明屏606具有允許來自對象614的光616通過的孔徑608。在本實施例中,對象614是用戶的眼睛,包括眼睛的暗瞳孔615。
光學探測器603同時包括位于不透明屏幕606的孔徑608內的成像透鏡610。有利地,成像透鏡610配置成將用戶眼睛614的瞳孔615的圖像618聚焦到象限光電探測器。
即,成像透鏡610可設計為具有與用戶的眼睛614的瞳孔615相對于成像透鏡610的期望位置基本共面的對象平面,以及與象限光電探測器604基本共面的成像平面。
光電探測器的每個元件604a-604d的有源區域單獨可用,所以照亮單個象限的光可以電表征為僅在象限內。當光通過角度敏感探測器603時,光的能量分布在相鄰的604a-604d元件之間,每個元件的電貢獻的差異定義了光的相對位置。元件604a-604d的相對強度分布圖可用于確定照射在單元的光的位置。
如圖所示,從用戶眼睛614反射的光616穿過透鏡610形成眼睛614的圖像618。圖像618由于瞳孔615較暗,包含被較亮區域包圍的黑點。這是因為深色瞳孔615反射的光線相對較少,而眼睛614的部分以及瞳孔周圍使用者的臉部會反射光線。
由于暗瞳孔615將影響單元的光強度,因此可以對在象限光電探測器604形成的圖像618進行電表征,以確定瞳孔615相對于角度敏感探測器603的位置。位置信息可用于注視追蹤。

圖9是對象追蹤系統的成像透鏡610和光學探測器603的簡化視圖900。如圖所示,所述成像透鏡610配置為將所述待追蹤對象904的圖像906聚焦到所述象限光電探測器604。即,成像透鏡610可設計為具有與待追蹤對象904相對于所述成像透鏡610的預期位置基本共面的對象平面或空間,以及與象限光電探測器604基本共面的成像平面或空間。
這樣,可以使用單元604a-604d來確定對象904在對象空間中的位置,從而可以追蹤所述對象。

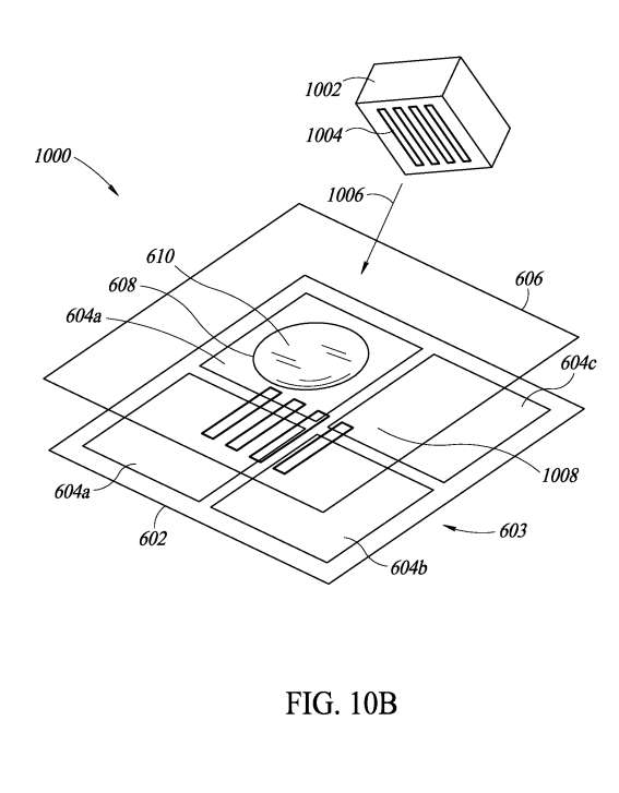
圖10A是角度敏感光學探測器603和待檢測對象1002的透視圖1000,其中所述對象位于第一位置。所述對象1002可在其上包括確定的圖案1004。圖10B是圖中角度敏感光學探測器603和待檢測對象1002的透視圖,其中所述對象1002位于第二位置。
如圖所示,成像透鏡610接收從對象1002反射的光1006,并在光電探測器單元604a-604b產生圖案1004的圖像1008。當所述對象1004從圖10A所示的第一位置移動到圖10B所示的第二位置時,所述圖案1004的圖象1008相應移動其位置??刂齐娐房捎糜谔幚韽墓怆娞綔y器單元604a-604b接收到的探測器數據,以沿著一個或多個維度追蹤對象1002在空間中的位置。
在所示的示例中,圖案1004可以設計為具有光和暗的交替部分,以幫助在光電探測器單元604a-606b提供更多的離散信號。在至少一些實施例中,提供離散信號可以提高光學探測器603在對象沿著一個或多個維度在空間中移動時追蹤對象1002的能力。

在至少一個實施例中,機器學習技術可用于支持眼動追蹤子系統。例如,可以提供機器學習系統的模型訓練部分和推理部分。在訓練部分,訓練數據輸入到機器學習算法中,并生成訓練好的機器學習模型。在推理部分,可以將運行時數據作為輸入提供給訓練有素的機器學習模型,以進行眼睛位置推理。
相關專利:Valve Patent | Optical tracking including imaging-based angle sensitive detectors
名為“Optical tracking including imaging-based angle sensitive detectors”的V社專利最初在2023年5月提交,并在日前由美國專利商標局公布。
需要注意的是,一般來說,美國專利申請接收審查后,自申請日或優先權日起18個月自動公布或根據申請人要求在申請日起18個月內進行公開。注意,專利申請公開不代表專利獲批。在專利申請后,美國專利商標局需要進行實際審查,時間可能在1年至3年不等。另外,專利申請不一定意味著相關發明會商業化。


產品與服務
聯系站長
關于我們